:: Das Militärfahrrad der Schweizer Armee
:: Nummernübersicht
:: Schweizer Militärfahrrad - Informationen
:: Exemplare Armeevelo der schweizerischen Armee
:: Ersatzteile Ordonnanzrad 05
:: die Nummer unter dem Tretlager
Wer mir seine Fahrraddaten schicken möchte, der kann folgende emaiadresse dafür nutzen.
![]()
Im Ersatzteilkatalog gibt es einen Index für die Suche von Ersatzteilen nach der Herstellerartikelnummer. Der Hersteller ist über einen Code angeben.

Der Hersteller ist über einen Code angeben.

Lenker (Lenkstange) Steuerung (Steuerlager) Gabel
Vorderrad
Vorderradbremse
Rahmen
Schutzblech vorn und hinten
Sattel
Tretlager, Kurbel
Ziffern unten beim Tretlagergehäuse: Dieses Thema ist noch nicht wirklich erforscht. Zum Teil kann man auf den Hersteller schliessen: der "Z" schliesst auf Zesar. "Gebr R" wohl auf ein Schwalbenrad (Gebrüder Rüegg, Uster). GF bedeutet wohl Georg Fischer. Daraus müsste man aber schliessen, dass nicht alle Hersteller die Muffen selber hergestellt haben, denn GF ist kein Frd-Bauer. Oft sieht man auch "MVC". Ich habe noch keine Ahnung, was diese Buchstaben bedeuten könnten. - dieser Hinweis stammt von einem Kenner des Ordonnanzrades - März 2011
Pedal

Kettenräder, Kette
http://www.militaerveloshop.ch/militaer-armee-rad-velo/militaervelo-ersatzteile/Kettenrad_Cosmos.jpg
Foto: http://www.militaerveloshop.ch/
http://www.militaerveloshop.ch/militaer-armee-rad-velo/militaervelo-ersatzteile/Kettenrad_Condor.jpg
50 Zähne
49 Zähne
Grafikreferenz: http://www.militaerveloshop.ch/militaer-armee-rad-velo/militaervelo-ersatzteile/Kettenrad_Schw.jpg
http://www.militaerveloshop.ch/militaer-armee-rad-velo/militaervelo-ersatzteile/Kettenrad_Caesar.jpg
Foto: http://www.militaerveloshop.ch
http://osth.educanet2.ch/ordonnanzrad/.ws_gen/10/Zesar.jpg
Foto: http://ordonnanzrad.ch/
http://www.morger.net/autobilder/Kettenrad_MFG.jpg
Foto: http://www.morger.net/
keine Abbildung
16543 / 1937 (2011) - 50 Zähne
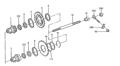
Hinterrad
Torpedonabe / Nabe
Zitat: " ... so weit ich mich erinnere wurden in Schweizer Armeerädern u. a. F&S Naben verbaut. Irgendwann in den frühen 50ern hat F&S von Schraub- auf Steckritzel umgestellt. Ich nehme an, dass Deine Abbildung die zwei möglichen Varianten für frühe und späte Ordonzräder zeigt...." Quelle: http://www.altesrad.net/phpBB3/viewtopic.php?f=10&t=3841&p=30935#p30935
Fichtel & Sachs Naben sämtliche dem Autor bekannte Naben dieser Firma http://scheunenfun.de/f+s_schaltungsnaben.htm
Hinterradantrieb mit Schraubkranz oder Steckkranz ???


Antriebskopf geschraubt, gesteckt: ich weiss nicht, wann genau der Wechsel kam. Sie sind grundsätzlich baugleich. Einzig wird das Ritzel in einem Fall geschraubt, im andern Fall einfach aufgesteckt. Für die Rennfahrer sind Steckritzel praktisch: man kann ganz schnell ein grösseres oder kleineres Ritzel monieren. Jedoch können sich die 3 Nocken abnützen, was beim geschraubten Ritzel nicht möglich ist. - dieser Hinweis stammt von einem Kenner des Ordonnanzrades - März 2011
siehe auch http://scheunenfun.de/f+s_torpedo_freilauf-nabe.htm
Trommelbremse
Beleuchtung K1
Beleuchtung K2
Rücklicht
Pumpe, Pumpenhalter, Signalglocke
Werkzeugtasche
Nummernschild, Schlässer
Schlüssel / Schloß
Auszug aus einer Ersatzteilliste von 2000
Schlüssel: Es gibt 50 verschiedene Schlüssel, die Nr ist auf dem Schlüssel eingestanzt. Auf dem Schloss findet man an 2 Orten die Nummer: die lezten beiden Ziffern auf dem Schliessbügel und beim Schlitz, wo man den Schlüssel reinsteckt (man muss den Staubdeckel ein wenig drehen) - dieser Hinweis stammt von einem Kenner des Ordonnanzrades - März 2011
Gepäckträger
![]()
Besuchen sie doch auch mal unseren ebay-shop
Es warten interessante Angebote aus aus verschiedenen Interessensgebieten auf sie.
Diese Seite entstand mit freundlicher Unterstützung von www.electi.net